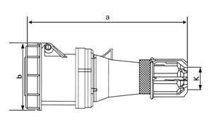
電 流:63A/125A
電 壓:220-250V~
極 數:2P+E
防護等級:IP67
63Amp
125Amp
Poles
3
4
5
a
260
305
b
114
130
k
36
50
sw
61
81
Wire flexible [mm2]
6-16
16-50
創新探索,開創未來
郵箱:cee@cncee.com
電話:057762968788
傳真:0577-62994888
QQ:860025678
地址:浙江省樂清市北白象鎮溫州大橋工業園區華山路1號